VbsEdit怎么设定未设置断点则停在脚本起始处
VbsEdit如何设置在未设断点时自动停在脚本开头的详细操作方法。1、打开Vb2026-01-04
arch linux 无法联网怎么办
安装系统后重启发现无法上网,可能是网络驱动未安装或网络设置错误,需检查驱动、网卡2026-01-04
如何设置AbiWord软件内部单引号风格
教你如何设置AbiWord软件中的单引号样式,具体操作步骤如下所示。1、点击A2026-01-04
精易编程助手使用方法——窗口探测使用
无论是经验丰富的开发者还是初学易语言的新手,使用精易编程助手都能获得高效便捷的操2026-01-04
如何用360软件管家下载BooX Viewer 1.0
许多人喜爱使用文件阅读器,却不清楚如何通过360软件管家进行下载。本文将详细介绍2026-01-04
如何启用jalbum的同步输出文件夹功能?
开启jalbum同步输出文件夹功能操作简便。1、先打开图像浏览程序。2、接着2026-01-04
如何设置AbiWord软件拼写忽略内含数字的文字
设置AbiWord软件忽略含数字文本的拼写检查方法,具体操作步骤如下,一起来了解2026-01-04
VirtualBox屏幕分辨率怎么调整?
1、null2、打开VirtualBox软件,进入全局设置选项,按照图示找到2026-01-04
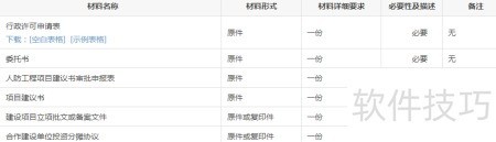
慈溪单建人防工程项目建议书审批
申请需满足以下条件:符合人防相关法律法规及人民防空工程战术技术要求;纳入人防工程2026-01-04
VbsEdit如何设定脚本运行在命令行模式显示标识
VbsEdit设置脚本在命令行模式下运行并显示标识的操作方法指南1、打开Vbs2026-01-04
报价之星行操作各个功能详解
许多用户询问该行操作的具体作用,现由报价之星为您详细解析各项功能的实际用途与应用2026-01-04
如何设置AbiWord软件用户界面屏幕颜色
教你如何调整AbiWord软件界面的屏幕颜色,简单几步轻松完成设置。1、点击进2026-01-04
怎么批量解压缩文件?
如何批量解压二十多个压缩包?接下来为你详细介绍具体操作步骤。1、这里有20个压2026-01-04
怎么设置jalbum的图像线程数目?
调整jalbum图像处理线程数十分简单。1、先启动图像编辑软件。2、接着选择2026-01-04
安装HDDLife之后磁盘图标怎么改回默认图标
HDDlife是一款用于监测硬盘健康状况的工具软件。部分用户在安装该软件后发现,2026-01-04
怎么批量解压缩文件
批量解压文件的方法如下所示。1、所示,这里有20个压缩包,逐一解压耗时太长,效2026-01-04
键盘乐器手风琴的演变历程
手风琴作为20世纪小型键盘乐器的代表,自30年代起广泛活跃于各类文化、社会活动之2026-01-04
在报价之星中如何将设备库中的产品添加到项目中
有用户询问如何将报价之星设备库中的产品添加至新项目,现提供两种简便方法,帮助快速2026-01-04
怎么修改jalbum的图片输入目录?
更改jalbum图片输入目录操作简便。1、先开启图片处理软件。2、接着点击顶2026-01-04
怎么把图片合成PDF
工作中常需将扫描图片合并为PDF,具体操作方法如下。1、打开软件后点击添加按钮2026-01-04